AppDupe - 1分钟极速观看赛车的历史结果_极速168官网赛车走势平台-1�!实时赛车看记录 产品 案例 资讯 关于 联系

电锤自动装配线

产品介绍

在线选型咨询

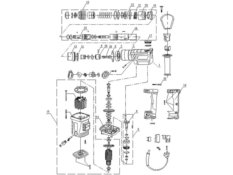
生产线优点:国内首条电锤自动组装线,同行业领先。

● 链条输送系统,柔性模式生产,故障设备可人工参与生产,确保不停线。

● 组件供料方式:通过优化完善工艺,将产品分为机壳定子组、齿轮箱组、转子中间盖组、气 缸组等几大组件。 

● 在线自动模式:分别实现组件的自动化生产,并结合按钮组件、油盖组件、自动加油打油 盖、自动打螺丝、自动老化、测试、包装、码垛 及人工接线等整导线等工序,实现了电锤产品的完整自动化生产。 

● 工具装箱完在线自动称重,防止配件漏装;自动展箱、封箱、打PP带,机器人码垛。 

● 生产数据:生产节拍、设备异常、效率达成情况、停机待料时间等数据。



总公司地址:江苏省常熟市支塘镇泰康路10号
电话:0512-36874931 186 2624 2711
传真:0512-36874961
邮箱:suzhouaoqi@126.com
网址:www.worldyoganetwork.com
Copyright © 版权所有: AppDupe - 1分钟极速观看赛车的历史结果_极速168官网赛车走势平台-1�!实时赛车看记录 备案号:苏ICP备28326654号  苏公网安备32058302005097号 技术支持:拾久科技
AppDupe - 1分钟极速观看赛车的历史结果_极速168官网赛车走势平台-1分钟💰!实时赛车看记录